Product Summary
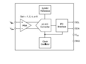
The ADS1110A2IDBVR is a precision, continuously self-calibrating Analog-to-Digital (A/D) converter with differential inputs and up to 16 bits of resolution in a small SOT23-6 package. The onboard 2.048V reference provides an input range of ±2.048V differentially. The ADS1110A2IDBVR uses an I2C-compatible serial interface and operates from a single power supply ranging from 2.7V to 5.5V. The applications of the ADS1110A2IDBVR are portable instrumentation, industrial process control, smart transmitters, consumer goods, factory automation, temperature measurement.
Parametrics
ADS1110A2IDBVR absolute maximum ratings: (1)VDD to GND:-0.3V to +6V; (2)Input Current: 100mA, Momentary; (3)Input Current: 10mA, Continuous; (4)Voltage to GND, VIN+, VIN:-0.3V to VDD + 0.3V; (5)Voltage to GND, SDA, SCL:-0.5V to 6V; (6)Maximum Junction Temperature: +150℃; (7)Operating Temperature Range:-40℃ to +125℃; (8)Storage Temperature Range:-60℃ to +150℃; (9)Lead Temperature (soldering, 10s): +300℃.
Features
ADS1110A2IDBVR features: (1)complete data acquisition system in; (2)a tiny sot23-6 package; (3)onboard reference: accuracy: 2.048V ±0.05% Drift: 5ppm/℃; (4)onboard pga; (5)onboard oscillator; (6)16-bits no missing codes; (7)INL: 0.01% of FSR max; (8)continuous self-calibration; (9)single-cycle conversion; (10)programmable data rate: 15sps to 240sps; (11)I2C interface-eight available addresses; (12)power supply: 2.7V to 5.5V; (13)low current consumption: 240uA.
Diagrams

| Image | Part No | Mfg | Description | ![]() |
Pricing (USD) |
Quantity | ||||||||
|---|---|---|---|---|---|---|---|---|---|---|---|---|---|---|
![]() |
![]() ADS1110A2IDBVR |
![]() Texas Instruments |
![]() ADC (A/D Converters) 16-Bit 15SPS D-S |
![]() Data Sheet |
![]()
|
|
||||||||
![]() |
![]() ADS1110A2IDBVRG4 |
![]() Texas Instruments |
![]() ADC (A/D Converters) 16-Bit 15SPS D-S |
![]() Data Sheet |
![]()
|
|
||||||||
(China (Mainland))









